16"

Guía de inicio 

ÍNDICE

Odoo • Imagen y texto

DIAGRAMA FRONTAL

DESCRIPCIÓN
1. Cámara
2. IR Cámara
3. Micrófono
4. Botón On/Off
5. Teclado
6. Bloq Mayúsculas
7. Touchpad
19. Sensores Touchpad
Odoo • Imagen y texto

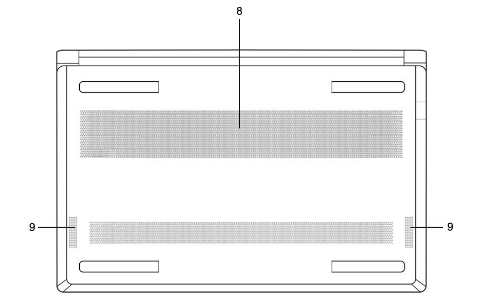
DIAGRAMA TRASERO

DESCRIPCIÓN
8. Ventilación
9. Altavoces

Odoo • Imagen y texto

DIAGRAMAS LATERALES

DESCRIPCIÓN
10. USB-C Thunderbolt 4
15. USB-C con Display port
11. USB 3.1
16. USB 3.1
12. HDMI 2.0 17. Lector de tarjetas MicroSD
13. DC-in 18. Jack 2 en 1 (input/output)
14. Bloqueo Kensington

CONTENIDO DE LA CAJA


PORTÁTIL

CARGADOR & CABLE 

PRIMEROS PASOS

Para encender el ordenador hay que tener el botón de encendido presionado durante 1 segundo y soltarlo, situado en el lateral superior derecho.

Si la distribución que has elegido permite la instalación OEM (sin creación de usuario), es hora de que crees tu usuario y contraseña y configure su red.
En el caso de que la distribución elegida no permita la instalación OEM, el usuario y la contraseña es slimbook, además, si el usuario root está habilitado o ha solicitado encriptado de disco, su contraseña también es slimbook, ¡cámbiala por una segura!

FUNCIONES DEL TECLADO

DESCRIPCIÓN
Fn + F1 - Modo suspensiónFn + F7 - Aumenta intensidad retroiluminación
Fn + F2 - Activar / Desactivar tecla súperFn + F8 - Silencio
Fn + F3 - Cambiar salida de imagenFn + F9 - Bajar volumen
Fn + F4 - Modo avión ON/OFF Fn + F10 - Subir volumen
Fn + F5 - Modo trabajo silencio / balanceadoFn + F11 - Bajar brillo
Fn + F6 - Baja / apaga intensidad retroiluminación
Fn + F12 - Subir brillo

Para acceder a la BIOS / UEFI: Presionar repetidamente la tecla F2 tras encender.
Para acceder al menú de arranque "Boot menu":
Presionar repetidamente la tecla F7 tras encender.

BATERÍA

Intenta no descargar directamente del 100 al 0%, trata de usar la batería en un rango intermedio entre ambos extremos ya que sufre menos. Intenta mantenerte por encima del 20%.

Además se recomienda que el equipo esté conectado a la corriente solo cuando se esté cargando y no dejarlo siempre conectado.

Intenta no estar conectando y desconectando el adaptador cada pocos minutos. Una vez se establece el ciclo de carga lo mejor es no interrumpirlo, reduciendo así la degradación de la batería.

Para más información al respecto revisa nuestro blog: Trucos: Cuidados de la batería

INDICADOR DE ESTADO ESTADO DE CARGA
LED blanco sólido La batería se está cargando
LED parpadeo blanco Batería baja
LED apagado Carga completa

SEGURIDAD A NIVEL DE PLACA BASE

Entrando con F2 en la BIOS, podrás desactivar componentes para mejorar tu privacidad, que no podrán ser iniciados desde el sistema operativo. Los componentes son: la webcam, el micrófono, el Wi-Fi y el Bluetooth.

MODOS DE TRABAJO

Los modos de trabajo en este modelo se pueden cambiar con las combinaciones de teclas Fn+F5 (Energy Saver Mode o Balance Mode) o desde la propia BIOS (Advanced -> Operating Mode). Estos modifican los valores de TDP y la tabla de revoluciones de los ventiladores para hacerlo mas silencioso o mas potente.
Si quieres que estas combinaciones funcionen y el sistema te notifique el cambio con un mensaje en ventana emergente, debes de tener instalado Slimbook Service en tu sistema.

**Recuerda que para sacar el máximo rendimiento a tu portátil, necesitas tener conectado el cargador ya que los valores TDP aumentan.

RECOMENDACIONES


No usar su ordenador cuando la temperatura ambiente supera los 35°C.

Intenta mantener las entradas de aire (tanto laterales como inferiores) limpias y sin obstruir.

Utiliza una protección adecuada para transportar el ordenador, evita aplastamientos e intenta no colocar encima o debajo objetos como el cargador.

Se recomienda tener instalado Slimbook Service si usas Linux, tenemos un apartado de notificaciones el cual vamos publicando nuevas actualizaciones de BIOS y noticias relevantes para tu modelo.

MANTENIMIENTO


Los fabricantes de pasta térmica solo dan 1 año de garantía, por lo que deberás de hacer un cambio de ella aproximadamente cada 1-2 años para un correcto mantenimiento.
Si necesitas ayuda durante el proceso, puedes seguir este tutorial: Cómo cambiar la pasta térmica

Para abrir tu equipo, puedes seguir este enlace donde tenemos unos videotutoriales de como hacerlo paso a paso.

**No se pierde la garantía por abrir el portátil, pero sí la pierdes si causas algún daño debido a ello. Por tanto, aunque puedes abrir el portátil, no lo abras si no es necesario y no lo hagas durante los primeros meses de uso, para probar que todo funciona correctamente en un tiempo**

Si tienes poca experiencia y quieres que uno de nuestros técnicos realice el mantenimiento, puedes contactar a través del formulario de contacto de soporte para que te hagan un presupuesto.


¿QUÉ HAGO CUANDO MI EQUIPO TIENE UN PROBLEMA?


Tenemos disponible en nuestra sección de Blogs, tutoriales como estos: Mi Slimbook no enciende ¿Qué puedo hacer? o también Descartar fallo/error de RAM con Memtest86+
Estos tutoriales pueden servir de ayuda para identificar el problema.

Si tu Slimbook necesita ser revisado por un técnico dentro o fuera de garantía, abre un ticket en: Soporte

TUTORIALES
DRIVERS & DESCARGAS
RECAMBIOS & PARTES
PÁGINA PRODUCTO