Guía de inicio

    ÍNDICE


        Odoo • Imagen y texto

        DIAGRAMA FRONTAL

        DESCRIPCIÓN
        1. Cámara
        2. Micrófonos con cancelación de ruido
        3. Pantalla LCD 16:10
        4. Botón On/Off
        5. LED Bloq Mayus
        6. Teclado
        7. Touchpad

        Odoo • Imagen y texto Odoo • Imagen y texto

        DIAGRAMAS LATERALES

        DESCRIPCIÓN
        8. Hard Power Off
        14. USB-A 3.2 Gen2 (10Gbps)
        9. Bloqueo físico cámara
        15. HDMI 1.4
        10. USB-A 3.2 Gen1 (5Gbps)
        16. USB-C 3.2 Gen2 (10Gbps) + PD (100W)
        11. Bloqueo Kensington
        17. USB-C 3.2 Gen2 (10Gbps) + PD (100W)
        12. DC-in
        18. Jack 3.5mm combo
        13. Led indicador de carga

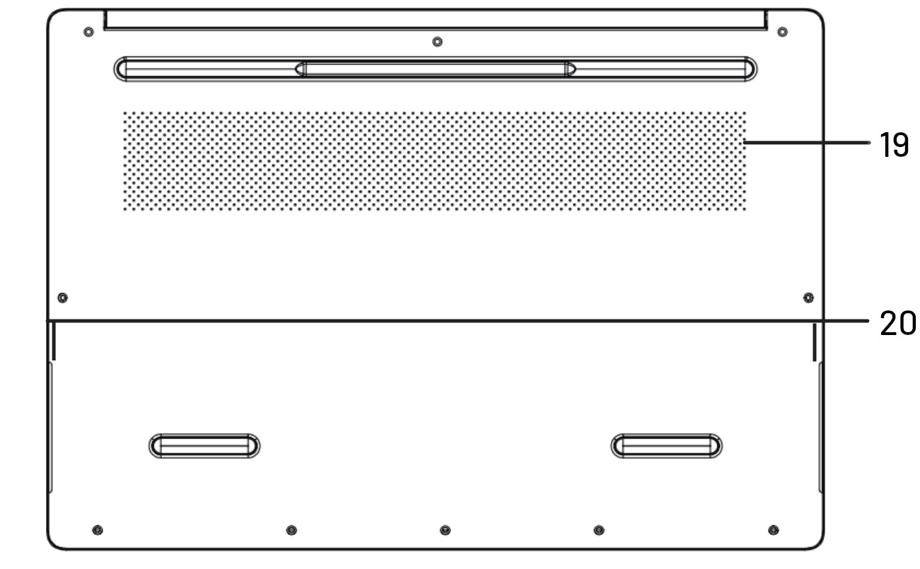
        Odoo • Imagen y texto

        DIAGRAMA TRASERO

        DESCRIPCIÓN
        19. Ventilación
        20. Altavoces

        CONTENIDO DE LA CAJA


        PORTÁTIL

        CARGADOR USB-C & CABLE USB-C

        PRIMEROS PASOS

        Para encender el ordenador hay que tener el botón de encendido presionado durante 1 segundo y soltarlo, situado en el lateral superior derecho.

        Si la distribución que has elegido permite la instalación OEM (sin creación de usuario), es hora de que crees tu usuario y contraseña y configure su red.
        En el caso de que la distribución elegida no permita la instalación OEM, el usuario y la contraseña es slimbook, además, si el usuario root está habilitado o ha solicitado encriptado de disco, su contraseña también es slimbook, ¡cámbiala por una segura!

        FUNCIONES DEL TECLADO

        DESCRIPCIÓN
        Fn + F1 - Activar / Desactivar función de panel táctil
        Fn + F7 - Cambiar salida de imagen
        Fn + F2 - Modo suspensión
        Fn + F8 - Bajar brillo
        Fn + F3 - Silenciar altavocesFn + F9 - Subir brillo
        Fn + F4 - Baja / sube intensidad retroiluminación Fn + F10 - Modo Energy Saving
        Fn + F5 - Bajar volumenFn + F11 - Modo Balanced
        Fn + F6 - Subir volumenFn + F12 - Modo Performance

        Para acceder a la BIOS / UEFI: Presionar repetidamente la tecla F2 tras encender.
        Para acceder al menú de arranque "Boot menu":
        Presionar repetidamente la tecla F10 tras encender.

        BATERÍA

        Intenta no descargar directamente del 100 al 0%, trata de usar la batería en un rango intermedio entre ambos extremos ya que sufre menos. Intenta mantenerte por encima del 20%.

        Además se recomienda que el equipo esté conectado a la corriente solo cuando se esté cargando y no dejarlo siempre conectado.

        Intenta no estar conectando y desconectando el adaptador cada pocos minutos. Una vez se establece el ciclo de carga lo mejor es no interrumpirlo, reduciendo así la degradación de la batería.

        Para más información al respecto revisa nuestro blog: Trucos: Cuidados de la batería

        Descubre el nuevo sistema de batería inteligente SmartBattery: SmartBattery: ¿qué es y cómo funciona?
        INDICADOR DE ESTADO  ESTADO DE CARGA
        LED * La batería se está cargando
        LED * Batería baja
        LED * Carga completa

        MODOS DE TRABAJO

        Los modos de trabajo en este modelo se pueden cambiar con las combinaciones de teclas Fn+10 (Energy Saver), Fn+11 (Balanced), Fn+12 (Performance). Estos modifican los valores de TDP y la tabla de revoluciones de los ventiladores para hacerlo mas silencioso o mas potente.
        Si quieres que estas combinaciones funcionen y el sistema te notifique el cambio con un mensaje en ventana emergente, debes de tener instalado Slimbook Service en tu sistema.

        DESCRIPCIÓN
        ENERGY SAVER (Fn+10)
        Reduce el TDP para aumentar el nivel de batería y perfil silencioso
        BALANCED (Fn+11) Modo recomendado para tener un equilibrio entre potencia y batería
        PERFORMANCE (Fn+12) Aumenta el TDP para tareas pesadas, pero reduce el nivel de batería
        **Recuerda que para sacar el máximo rendimiento a tu portátil, necesitas tener conectado el cargador ya que los valores TDP aumentan.

        RECOMENDACIONES


        No usar su ordenador cuando la temperatura ambiente supera los 35°C.

        Intenta mantener las entradas de aire (tanto laterales como inferiores) limpias y sin obstruir.

        Utiliza una protección adecuada para transportar el ordenador, evita aplastamientos e intenta no colocar encima o debajo objetos como el cargador.

        Se recomienda tener instalado Slimbook Service si usas Linux, tenemos un apartado de notificaciones el cual vamos publicando nuevas actualizaciones de BIOS y noticias relevantes para tu modelo.

        MANTENIMIENTO


        Los fabricantes de pasta térmica solo dan 1 año de garantía, por lo que deberás de hacer un cambio de ella aproximadamente cada 1-2 años para un correcto mantenimiento.
        Si necesitas ayuda durante el proceso, puedes seguir este tutorial: Cómo cambiar la pasta térmica

        Para abrir tu equipo, puedes seguir este enlace donde tenemos unos videotutoriales de como hacerlo paso a paso.

        **No se pierde la garantía por abrir el portátil, pero sí la pierdes si causas algún daño debido a ello. Por tanto, aunque puedes abrir el portátil, no lo abras si no es necesario y no lo hagas durante los primeros meses de uso, para probar que todo funciona correctamente en un tiempo**

        Si tienes poca experiencia y quieres que uno de nuestros técnicos realice el mantenimiento, puedes contactar a través del formulario de contacto de soporte para que te hagan un presupuesto.


        ¿QUÉ HAGO CUANDO MI EQUIPO TIENE UN PROBLEMA?

        Tenemos disponible en nuestra sección de Blogs, tutoriales como estos: Mi Slimbook no enciende ¿Qué puedo hacer? o también Descartar fallo/error de RAM con Memtest86+
        Estos tutoriales pueden servir de ayuda para identificar el problema.

        Si tu Slimbook necesita ser revisado por un técnico dentro o fuera de garantía, abre un ticket en: Soporte
        TUTORIALES
        DRIVERS & DESCARGAS
        RECAMBIOS & PARTES
        PÁGINA PRODUCTO